


keyboard_arrow_rightkeyboard_arrow_left
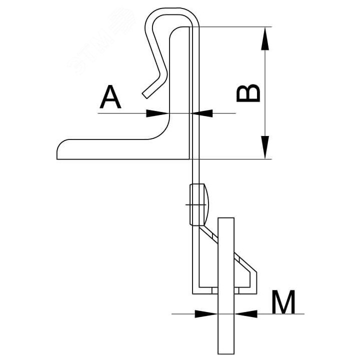
В состав системы универсальных крепежных элементов ''M5 Combitech'' входят такелажные изделия. Они предназначены для облегчения монтажных работ, связанных с подъемом грузов. Такелаж ДКС отличается высокой прочностью и надежностью. Изделия имеют антикоррозионное покрытие и могут служить долгие годы. Широкий ассортимент такелажных элементов ДКС позволяет решать любые задачи, связанные с монтажом кабеленесущих систем и опорных конструкций. Крепеж фиксируется на балке сверху и предназначен для крепления шпильки М6. Изделие предназначено для балок толщиной от 5 до 7 мм.
Характеристики
Особые артикулы
На данный момент нет отзывов от покупателей